Honda 19045-P08-013 - Sealing Cap, radiator

Honda 19045-P08-013 - Sealing Cap, radiator europarts.cy
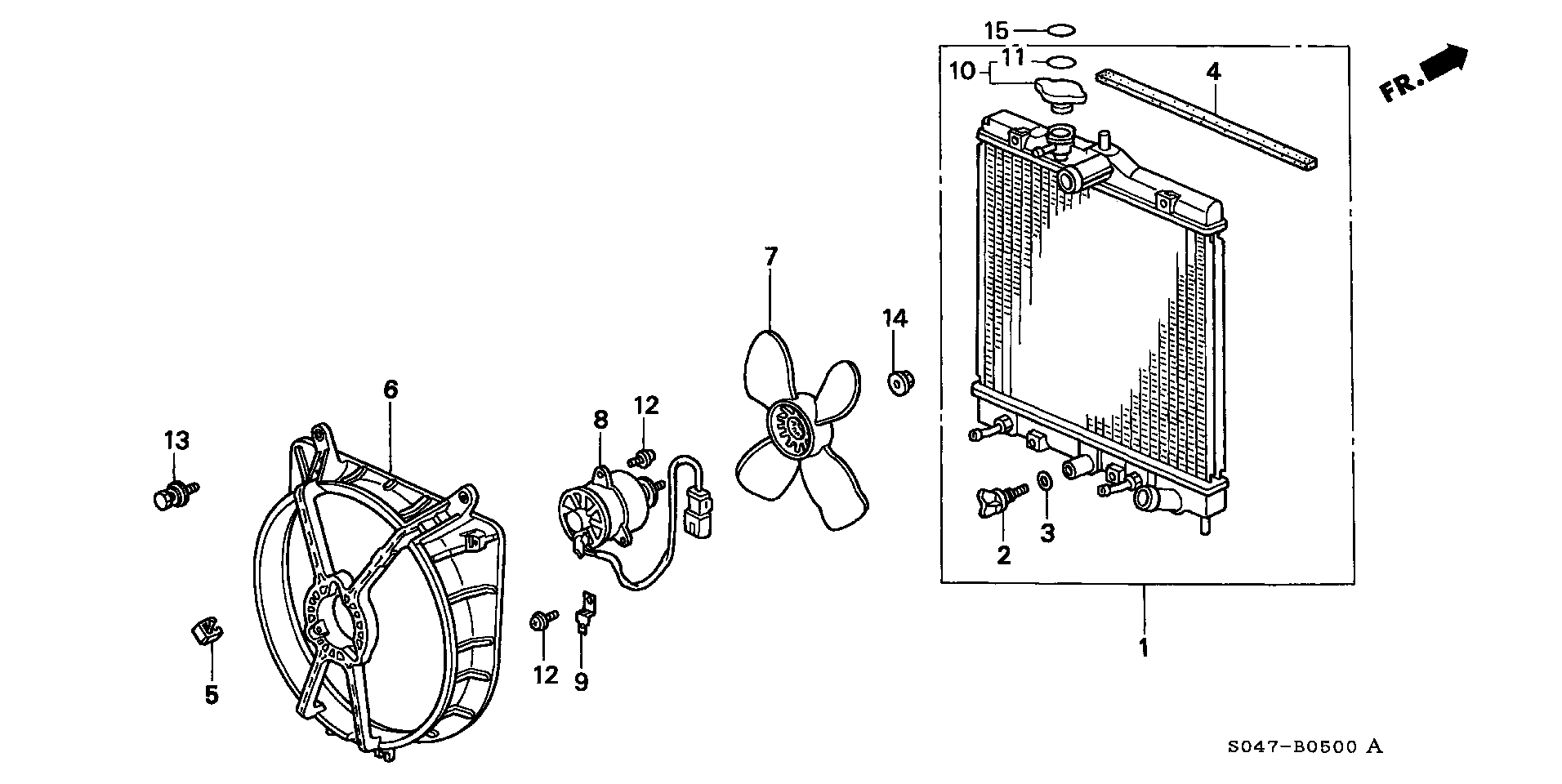
Scheme
Scheme
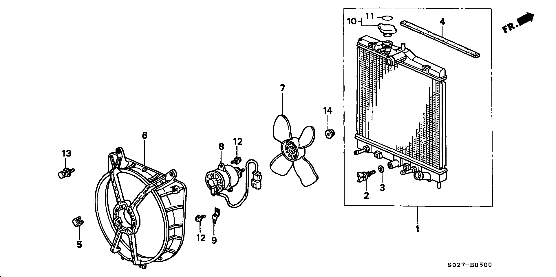
Scheme
Scheme
Japan
Honda Motor Co., Ltd.
Product description:
  • Sealing Cap, radiator
  • >Expansion tank cap (with valve)
  • >Cap comp.. radiator dens
  • Radiator (denso): 001 pcs.
  • CAP COMP., RADIATOR (DENSO)
  • Radiator (denso): 1 pcs.
  • CAP, RADIATOR (DENSO)
  • Honda, 19045-P08-013, Sealing Cap, radiator
More information ▼
Specifications:
Weight:
30 gr
1pcs.
0,0300gr.
5000
3-5 Weeks
78,03
3 Days
10 Days
-
+
Add to Cart
Suitable vehicles
No information
Model, Year
Select brand
Engine
Select the model
Analogs & Kits
Product type
No search result..
3RG
ABAKUS
AIC
Blue Print
Calorstat by Vernet
GATES
IMPERGOM
Japanparts
Maxgear
Metalcaucho
Mitsubishi
Suzuki
VERNET
SIDEBAR
Sort by:
Lowest Price
Rating
Lowest Price
Delivery time
Available
Brand/Article
Name
Availability
Delivery period
Stock
Price
5
3-4 Weeks 3 Days
10 Days
2,52
-
+
▼ Show more prices (1)
Price 
3-4 Weeks
> 10
2,65
-
+
3-4 Weeks
> 10
2,65
-
+
5
3-4 Weeks 3 Days
10 Days
2,90
-
+
5
3-4 Weeks 3 Days
10 Days
2,95
-
+
5
3-4 Weeks 3 Days
10 Days
3,22
-
+
6
3-4 Weeks 3 Days
10 Days
4,25
-
+
▼ Show more prices (1)
Price 
3-4 Weeks
10
12,86
-
+
3-4 Weeks
10
12,86
-
+
10
3-4 Weeks 3 Days
10 Days
4,36
-
+
▼ Show more prices (1)
Price 
3-4 Weeks
10
4,36
-
+
3-4 Weeks
10
4,36
-
+
4
3-4 Weeks 3 Days
10 Days
5,47
-
+
> 10
3-4 Weeks 3 Days
10 Days
5,69
-
+
5
3-4 Weeks 3 Days
10 Days
8,90
-
+
▼ Show more prices (2)
Price 
3-4 Weeks
16
9,85
-
+
3-4 Weeks
16
9,85
-
+
3-4 Weeks
6
11,16
-
+
3-4 Weeks
6
11,16
-
+
16
3-4 Weeks
9,85
-
+
6
3-4 Weeks
11,16
-
+
10
3-4 Weeks 3 Days
10 Days
11,44
-
+
▼ Show more prices (1)
Price 
3-4 Weeks
10
11,47
-
+
3-4 Weeks
10
11,47
-
+
Page:
1 2

Your cart

×